瓦石悬棺 编辑

第七批全国重点文物保护单位

瓦石悬棺瓦石悬棺

瓦石悬棺,位于云南省昭通市威信县长安乡瓦石村西北、瓦石河畔一石灰岩崖中上部,是唐朝时期的古遗址。

威信县长安乡瓦石悬棺是云南木桩支撑式悬棺葬中考古已发现尚保存原始棺木的遗址。现有棺7具,其中3具为原始棺木。考古清理揭示该悬棺为“二次葬”;棺木中的随葬品不多,以麻织品和木、竹制品等生活用品为主;棺中填充物明显分为三层:上层为填土,中层为干枯树枝和蕨草,下层为尸骨与随葬品;C14测年结果其年代为776±100年,时代为唐代。瓦石悬棺填补了长江上游唐代悬棺的空白,是悬棺葬考古及人类学、民族学等研究的重要实物资料。

2013年3月5日,瓦石悬棺被中华人民共和国国务院公布为第七批全国重点文物保护单位。

基本信息

编辑

中文名:瓦石悬棺

地理位置:云南省昭通市威信县长安乡瓦石村西北、瓦石河畔一石灰岩崖中上部

所处时代:唐朝

保护级别:第七批全国重点文物保护单位

编号:7-0663-2-147

批准单位:中华人民共和国国务院

历史沿革

编辑
20世纪80年代,7具棺木中已有4具先后坠落。

1988年,威信县文物管理所用木板复制4具放上。

1996年、1998年,香港中国探险学会、云南省地理研究所共建的昆明民族文化与自然保护中心于对瓦石悬棺进行了两次详细考察。

2000年9月,经云南省文物管理部门批准,由昆明民族文化与自然保护中心、云南省考古研究所、威信县文物管理所共同对瓦石悬棺进行了考古发掘、保护与记录工作。

遗址特点

编辑
地理环境

悬棺内部悬棺内部

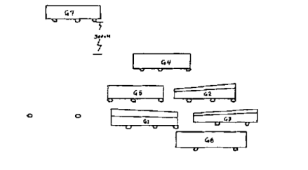
长安乡地处威信西部,西与彝良县及镇雄县相连,北与四川珙县洛表乡接壤。瓦石悬棺位于瓦石村西北、瓦石河畔一石灰岩崖中上部。悬棺放置在悬崖天然凹入部分的下方,距河面约150米。置放方式为岩壁上凿孔打桩,木桩上放置棺木。方孔边长13厘米左右,深15~19厘米,木桩长87~123厘米。由2~3根木桩支撑1具棺木。威信长安瓦石棺木岩悬棺遗址点在云南知名度不高,但重要,是云南木桩支撑式悬棺葬中唯一尚存原始棺木的遗址点。棺木岩现存棺木7具,编号WG1~WG7,其中原始棺木3具WG1、WG2、WG3,其余4具为复制。7具棺木呈5行自上而下分布于岩壁上。岩壁面向南,棺木放置方向均为北东60°,大致与岩壁平行。另外,在WG1右侧发现两个桩孔,或许还有一棺已坠毁,或许凿孔后尚未打桩置棺。

悬棺形制及棺内堆积

瓦石悬棺出土头骨瓦石悬棺出土头骨

3具原始棺木均为整木凿制而成,未漆,棺身上窄下宽,头大足小,四周砍凿成直角,呈长方体状。棺盖为齐头拱盖,其外部除去树皮后,几乎没有做进一步加工,身与盖由子母口套合较紧密。

瓦石悬棺瓦石悬棺

WG1底部有3根支撑桩,棺长约210厘米,高41~53厘米,底宽约42~55厘米,口宽33~46厘米,较宽一端朝向西南,棺两端外侧身盖结合处中部各有一长方形及半圆形浅槽,棺盖在开棺前已部分位移。棺内有填充物,明显分为三层,上层为杂碎石块、小动物碎骨、粪便的灰色填土,较干;中层为干树枝及蕨草;最下层,也就是棺底发现人骨和随葬品。骨架保存不全且分布散乱。经初步鉴定,人骨及大部分人牙属于一老年妇女,4枚乳牙属少年个体。随葬品主要集中于棺内西部。

7具棺木位置图7具棺木位置图

WG2底部由3根桩支撑,棺长192厘米,高约30~47厘米,底宽约50~63厘米,口宽约40~52厘米,较宽一端朝向东北。棺腰底部两侧各有一高约10~12厘米,长25~35厘米的空洞,外侧洞为风蚀形成,内侧(靠岩壁侧)洞边缘有小动物啃咬痕迹,应为啮齿动物啃咬所致。似因小动物拖动,将1具人头骨带到内侧空洞边,面部向外。棺内填土主要集中于两端(土中含有大量树枝、蕨草),中部填土大多从空洞中漏出。在棺两头填土之上分别发现一个鸟巢。填土内还发现竹鼠头骨、粪便和一些果核,应为后期小动物在棺内栖息活动的遗留。棺中人骨较WG1为多,骨架同样不全,基本上呈自然状态分布,但排列也没规律(如有的牙齿放置于胸部位置)。经初步鉴定,人骨及大部分人牙属一成年男性,乳臼齿属一少年个体。部分骨骼被麻织品紧紧包裹。同时发现的陪葬品有一圆木片、一截麻线和部分丝织品及大量麻织品。

葬具葬具

WG3底部有两根支撑桩,棺长约203厘米,高约28~41厘米,底宽约35~42厘米,口宽约30~40厘米,较宽一端朝向东北。棺体风蚀严重变薄,外侧厚度仅几毫米。棺底及棺侧已出现一些较大孔洞和缝隙。棺内仅有少量填土、麻织品。人骨有右上外侧门齿1枚,少量头骨碎片等。

文物遗存

编辑
瓦石悬棺随葬器物均较少,除丝织品、麻织品外,仅出土随葬器物10件,且大多集中于WG1棺。按材料可分为木器、竹器、锡器,均为生活用品。

历史文化

编辑
悬棺葬

悬棺葬作为一种古代少数民族奇特的丧葬习俗,已有2~3千年的历史,广泛流行于中国华南、东南亚及太平洋诸岛。在云南省主要分布于与四川、贵州接壤的滇东北地区。威信长安瓦石村悬棺遗址有两处,一为龙潭白虎岩,棺材已坠尽,仅余木桩20多根;另一处为瓦石棺木岩,棺木保存较好,共有7具,其中3具为原始棺木。

研究价值

编辑
瓦石悬棺填补了长江上游唐代悬棺的空白,是悬棺葬考古及人类学、民族学等研究的重要实物资料。

保护措施

编辑
2013年3月5日,瓦石悬棺被中华人民共和国国务院公布为第七批全国重点文物保护单位。

旅游信息

编辑

地理位置

瓦石悬棺位于云南省昭通市威信县长安乡瓦石村西北、瓦石河畔一石灰岩崖中上部。

瓦石棘人悬棺

交通信息

自驾:自云南省昭通市威信县人民政府开车前往瓦石悬棺,路程约45.5千米,用时约1小时5分钟。

下一篇 龙氏家祠

上一篇 孟孝琚碑