-
孙家南头仓储遗址 编辑
孙家南头仓储遗址,位于陕西省宝鸡市凤翔县长青镇孙家南头村西800米的千河东岸二级阶地上,总面积约7200平方米,是西汉时期遗址。
孙家南头仓储遗址整体呈长方形,南北总长约216米,东西宽约33米,发现的遗迹有墙垣、通风道、门、柱础石等。遗址内出土了大量的建筑遗物,主要包括粗绳纹板瓦、筒瓦及云纹瓦当、“长生未央”瓦当、铺地砖等,还有少量五铢钱、货布、货泉、“大泉五十”等铜钱,以及铁铲、铁斧、铁铧、铁锸等铁器和其他遗物。孙家南头西汉仓储遗址是中国考古已发现的时代较早、结构完整、规模宏大的一处国家性质的漕运仓储设施,为研究西汉时期政治、经济、军事、文化以及千河乃至全国槽运与河岸码头仓库存储情况提供了重要的实物资料。
2019年10月7日,孙家南头仓储遗址被中华人民共和国国务院公布为第八批全国重点文物保护单位。
中文名:孙家南头仓储遗址
地理位置:陕西省凤翔县
所处时代:西汉
占地面积:约 7200 m²
保护级别:第八批全国重点文物保护单位
编号:8-0145-1-145
批准单位:中华人民共和国国务院
孙家南头仓储遗址现场
孙家南头仓储遗址位置示意图
地层堆积
孙家南头仓储遗址建筑基址之上的地层堆积较为简单,可分为4层,以T42北壁剖面为例。
第1层:现代耕土层,厚0.3米,土质松散,呈深褐色,内含植物根系等。
第2层:近代扰土层,厚0.45米,质稍硬,土色变浅。
第3层:淤积层,厚0.8米,上质细腻松散,呈灰褐色。
第4层:建筑基址文化堆积层,距现地表约1.55米,清理出厚0.28米左右的一层瓦片堆积,应为当时该建筑被废弃或拆除时散落下来的建筑材料。
第4层下即为建筑基址,基址打破生土。
遗址形制、结构
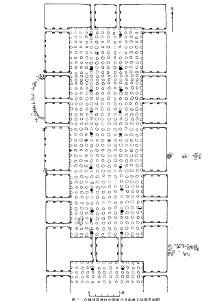
孙家南头仓储遗址整体呈长方形,南北总长约216米,东西宽约33米,建筑总面积约7200平方米,方向360度。发现的遗迹有墙垣、通风道、门、柱础石等。
中部单元及南部单元平面图
墙基间的通风道南北各有2条,东西各有7条,共计18条。同样分别是南北对称和东西对称。通风道的长度等同于墙体的宽度,各处的宽度为0.7~0.8米,每个通风道两侧面各有4道柱槽,有方形和圆形的两种。通风道两端的柱槽均为方形,与墙基内外侧平齐;中部的柱槽为方形或圆形,以圆形的居多。柱槽宽度(直径)为0.3~0.5米。柱槽底部均有础石。北墙基之间的两通道内壁均有草拌泥抹平的痕迹。所有通风道底面均有一层较厚的踩踏面,有的柱槽础石上和相对的础石之间发现有木质灰烟墙基以内为夯筑的地面,低于墙基0.6~0.8米,夯土厚0.4~0.5米。整体呈长方形,南北长50.6米,东西宽17.2米。地面上整齐有序地排列着柱础石,其中小柱础石东西14行,南北43行,共602个。础石呈不规则形,大多经过修凿,上部平整。础石中心间距1~13米。四周柱础石紧靠夯土,墙基个别还深入夯土墙内。另外,在上述整齐排列的小柱础石中又有东西2行、南北9行形体略大的柱础石,东西相距约为7.2米,南北长为47.6米。南北之间的柱础石间距有一定规律,自北起分别为8.2米、5.2米、5.2米、5.2米、8.2米、5.2米、5.2米、5.2米。在柱础石间距8.2米的位置对应的东西两边的墙基最长。
多处础石上和地面上发现有被火烧过呈木炭状的圆木,直径约为0.25米,残高一般为0.2~0.3米,最高0.7米,最低只有几厘米,表明础石上曾竖立有圆木。这样就说明夯土墙基以内的仓储建筑中心区的础石上原确有立柱。依据大小础石的分布规律、木柱残留迹象、整体布局特征,并参照以往其他地区所发现同时期或同类建筑的构造式样可以推断:小柱础石上安放较低矮的竖立圆木,然后在圆木上架空木板形成仓储的地面,木板地面以下的空间与四周墙壁上的通风道相通,这样就解决了仓储地面的防潮问题,同时密集的立柱又能够承载更多的重物。两行大础石不但间距较大,而且分别距东西两边的墙基距离较远,正对应建筑的中心部,础石上的立柱应为建筑中部高屋顶的支柱,以此可以判定整体建筑屋顶为歇山式,这样能够解决建筑跨度大的问题。
仓储建筑的用途
孙家南头西汉仓储遗址具有仓储转运、存储和军需守备多重作用。
孙家南头西汉仓储遗址出土瓦当图
建筑材料
孙家南头西汉仓储遗址出土铺地砖图
铜钱
孙家南头西汉仓储遗址出土铜钱图
铁工具
孙家南头西汉仓储遗址出土铁工具图
“百万石仓”瓦当
孙家南头西汉仓储遗址采集过1件西汉时期的“百万石仓”瓦当,现收藏于陕西省考古研究所,该瓦当与这座大型仓储建筑遗址的规模和功能相对应,因而推断该仓储建筑可能就是当时的“百万石仓”。
地理位置
孙家南头仓储遗址位于陕西省宝鸡市凤翔县长青镇孙家南头村西800米的千河东岸二级阶地上。
孙家南头村
交通信息
自驾:自陕西省宝鸡市凤翔县人民政府开车前往孙家南头仓储遗址,程约19千米,用时约27分钟。
1、本站所有文本、信息、视频文件等,仅代表本站观点或作者本人观点,请网友谨慎参考使用。
2、本站信息均为作者提供和网友推荐收集整理而来,仅供学习和研究使用。
3、对任何由于使用本站内容而引起的诉讼、纠纷,本站不承担任何责任。
4、如有侵犯你版权的,请来信(邮箱:baike52199@gmail.com)指出,核实后,本站将立即删除。

















