-
冷却能力 编辑
热处理工件在冷却时,不同的工艺目标,不同的材料,对冷却过程的要求也各不相同,需要选用合适的淬火介质。不同淬火介质所具有的冷却能力不一样。一般来说,退火及正火对冷却过程的要求不像淬火那样严格,因此常在空气介质中通过适当改变冷却方式来达到冷却目的。淬火时,既要加热到奥氏体状态的工件冷却速度大于临界冷却速度,以获得马氏体组织,又要防止工件在冷却过程中的变形和开裂。
中文名:冷却能力
外文名:Cooling Capacity
应用:热处理工件
影响:蒸汽压等
冷却介质:水等
理想的淬火冷却曲线示意图
但这样的理想淬火冷却介质仍未发现,现有的淬火冷却介质具备某些优点,就会伴随另外的缺点。所以我们只能在掌握了淬火冷却介质的性能之后,通过合理选用多种淬火冷却介质,取长补短,配合使用,并采用适当的淬火方法,来尽可能接近理想的冷却速度。
此外,淬火冷却介质还必须具有成分稳定,在使用过程中不易变质老化,粘度小,流动性好,并且不易腐蚀工件,淬火后工件表面清洁,便于清洗以及来源方便,价格低廉,无公害,安全可靠等特点。
水作为淬火冷却介质的主要缺点有:
(1)在奥氏体等温转变图的鼻部区,即500~600℃左右,水处于蒸汽膜阶段,冷却速度不够快,往往会造成工件冷却不均匀及冷却速度不足而形成的“软点”。在马氏体转变温度,即300~100℃左右,水处于沸腾阶段,冷却速度太快,易使马氏体转变速度过快而产生很大的内应力,导致工件严重变形甚至开裂。
(2)水温对冷却能力影响大,因此对环境温度的变化敏感。水温升高,冷却能力急剧下降,且最大冷却速度的温度区间移向低温。当水温超过30℃时,在500~600℃范围冷却速度明显下降,往往导致工件淬不硬,而对马氏体转变范围的冷却速度影响却较小。当水温提高到60℃冷却速度将下降50%左右。
(3)当水中含有较多气体(如新换的水),或是水中混入不溶杂质,如油、肥皂、泥浆等,均会显著降低其冷却能力,故使用和管理中应特别注意。
根据水的冷却特性可知,水一般只能适用于截面尺寸不大、形状较简单的碳素钢工件的淬火冷却。淬火时,还必须注意:保持水温在40℃以下,最好在15~30℃之间,并保持水的流动性或循环,以破坏工件表面蒸汽膜,也可以在淬火时用摆动工件(或使工件上下运动)的方法来破坏蒸汽膜,提高500~650℃区间的冷却速度,改善冷却条件,避免产生软点。
1、蒸汽压
蒸汽压是淬硬介质饱和气体的压强。它反映了液体分子内聚力的大小,蒸汽压越高,淬硬介质越容易汽化。而蒸汽压相对低的物质,其传热系数越大,越容易带走工件的热量,也就是说蒸汽压低的介质冷却能力强。
2、汽化热
汽化热指单位质量的液体完全变成同温度气体所需要的热量。当淬硬介质的汽化热越大时,则热负荷就越大,该淬硬介质的冷却能力越强。
3、比热容
通常介质比热容越大,那么单位质量介质所能够吸收的热量也就越多,则介质冷却能力也就越强,因为比热容是用来表征单位质量的介质升高单位温度所吸收的热量。水的冷却能力较强是因为水的比热容要比其他固态或液态物质的比热容要大得多的缘故。
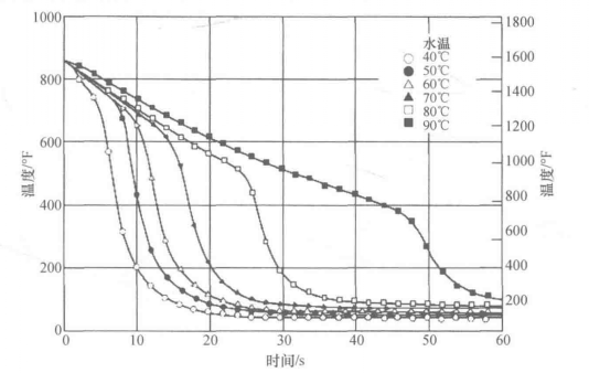
4、温度
温度变化对淬硬介质的冷却能力有明显的影响,但影响规律会随着介质的不同而不同。水和以水为基的淬硬介质,随温度升高,蒸汽膜阶段变长,冷却能力降低,可是降低的程度不尽相同,如下图1所示。而油与水相反,随温度升高,流动性变好,有利于散热,从而提高了冷却能力。
图1 冷却能力曲线
5、传热系数
液体的传热系数是指在沿热流方向上,单位温度梯度和单位时间内通过单位面积的热量,它用来表征介质传导热量的能力,也就是说传热系数越大时,该淬硬介质的冷却能力也就越强。
6、表面张力
表面张力可以用来表征其湿润金属的能力。表面张力小的淬硬介质易湿润金属,因而工件表面接触的好,固散热性能好。
7、黏度
液体的黏性是指液体流动时其分子间的内部摩擦力。可用黏度来表示该摩擦力大小,它对淬硬介质的冷却性能也有较大的影响。黏度越大,介质的流动性越差,不利于对流散热而带走热量;反之,其冷却能力越强。
1、本站所有文本、信息、视频文件等,仅代表本站观点或作者本人观点,请网友谨慎参考使用。
2、本站信息均为作者提供和网友推荐收集整理而来,仅供学习和研究使用。
3、对任何由于使用本站内容而引起的诉讼、纠纷,本站不承担任何责任。
4、如有侵犯你版权的,请来信(邮箱:baike52199@gmail.com)指出,核实后,本站将立即删除。

















