-
粘滞系数 编辑
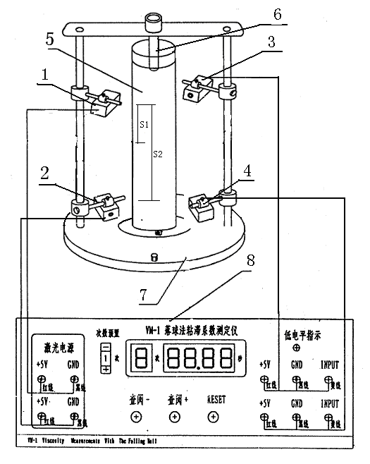
落球法实验要求小球沿着容器的中心轴线下落,传统的粘滞系数实验通过实验者凭经验释放实现,很难保证小球恰好沿容器的中心轴线下落;落球法实验要求测出小球匀速通过某段距离的时间,而传统的粘滞系数实验仅仅通过实验者的秒表计时来实现,由于人工秒表计时存在着视差和反应时间,实验时很难精确的测出小球下落的时间。针对以上问题,对传统的粘滞系数实验进行改进:用光电门和数字毫秒计代替人工秒表计时,并在容器的顶部加装有机玻璃盖,盖子的上方安置带磁铁的拉杆,通过磁力实现小球沿容器的中心轴线下落,从而提高实验测量的精度。
针对落球法粘滞系数实验中存在的诸多弊端,如小球释放凭经验、人工秒表计时误差较大等,对传统的粘滞系数实验进行改进,用光电门和数字毫秒计代替人工秒表计时,有效降低了人工秒表计时带来的视差和反应误差;在容器顶部加装中心带磁铁拉杆的盖子,通过磁力控制保证小球沿容器的中心轴线下落,降低了小球下落时间的测量误差。测试结果表明,使用改造后的实验仪能够有效提高实验的测量精度,降低实验误差,提高了仪器设备的使用率,降低了实验成本 。
v=μ/ρ,其中μ为动力粘度,也有用符号η表示;ρ为液体密度;
葡萄糖浆的粘滞系数h=6.6x1011泊,较大,水的粘滞系数h=8.01x10-4泊,较小。实际上所有流体都有不同程度的粘滞性。而且对于大多数液体,h随温度上升而下降。什么流体的粘滞系数最小?1957年12月1日,美国加利福利亚技术学院宣布:在液氦Ⅱ里,粘性系数小的测量不到。它是没有粘滞系数的理想流体。
1、本站所有文本、信息、视频文件等,仅代表本站观点或作者本人观点,请网友谨慎参考使用。
2、本站信息均为作者提供和网友推荐收集整理而来,仅供学习和研究使用。
3、对任何由于使用本站内容而引起的诉讼、纠纷,本站不承担任何责任。
4、如有侵犯你版权的,请来信(邮箱:baike52199@gmail.com)指出,核实后,本站将立即删除。

















